导航
免费发布需求
您的位置:任务大厅手术器械基础外科手术器械

2.5万 口腔颌面外科手术颌骨撑开器

已托管:2.5万

项目进度

  • 发布需求

    2023-03-14

  • 服务商交稿

    2024-04-17

  • 顾客选稿

    2024-04-18

  • 投票期

  • 公示期

  • 稿件交付中

  • 评价

需求描述

需求背景:

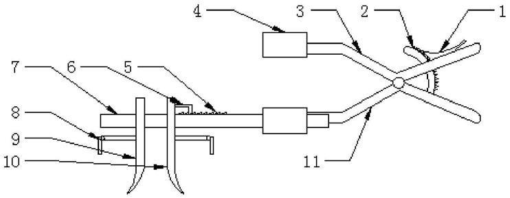
口腔内手术,若病灶范围较广(如口腔癌、颌骨肿瘤等),受下颌骨限制术野暴露不全,临床上需要暂时性离断下颌骨或节段性切除颌骨,即通过微动力系统将患者的下颌骨锯断,

扩大口腔开口,为了获得更好的手术视野,需要将下颌骨沿切割断面横向(朝相反的)方向撑开,并且还需要使上颌骨和下颌骨纵向撑开,而目前没有一种能够具备上述两种功能的医疗医械。

现在常用的口腔颌骨撑开器只能对上下进行撑开,不能够对左右进行撑开,而且在该手术中,要将下颌骨的中部切开,在切口处固定两条纱布,需要两个医护人员协助分别从左右两边拉扯纱布,

以使得切口张开,这种方式不便于控制力道而且需要更多的医护人员参与,不利于手术操作。


附件下载 1

暂无交稿哦!我来交稿

合子云
浏览人数
347
参与人数
0